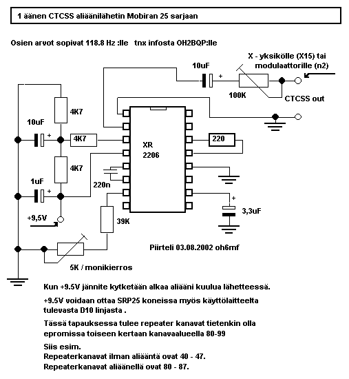
Mobira SRP25 / MC25




73 de oh6mf

 

 

Takaisin valikkosivulle